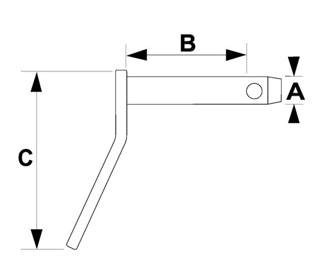
Se bilde 2 i produktets bildekarusell for mål-illustrasjoner.
Mål:
A: 19 mm
B: 117 mm
C: 145 mm
Vårt nettsted støtter ikke lenger Internet Explorer. Vi anbefaler alle å benytte seg av andre nettlesere, da Explorer ikke er optimalisert for sikkerhet eller hastighet i dagens nett og nettsider. Bruk mer moderne nettlesere som Edge (Windows sin nye nettleser), Chrome, Firefox eller Safari (Hvis du bruker Mac).
Our site no longer supports Internet Explorer. We recommend everyone to use other browsers, as Explorer is not optimized for the security or the speed in today's networks and websites. Use more modern browsers such as Edge (Windows new browser), Chrome, Firefox or Safari (If you use Mac)
Se bilde 2 i produktets bildekarusell for mål-illustrasjoner.
Mål:
A: 19 mm
B: 117 mm
C: 145 mm